增材制造助力逆流热交换器散热功能
几十年来,热交换器一直用于将热能从一种流体传递到另一种流体。流体既可以是液体,也可以是气体,或者一种可以是液体,另一种可以是气体,例如空气。热交换器广泛用于各种行业和应用 – 从汽车散热器到航空航天应用,如发动机油冷却和喷气燃料预热,再到发电和计算的各种应用。而3D打印技术正以其独特的工艺特点在改变热交换器和散热器的设计与制造方式。
替代钎焊,更随形的管道制造
在约束流热交换器中,根据两种流体的流动布置,有三种主要的热交换器分类。在横流式热交换器中,热流体和冷流体通过热交换器大致彼此垂直地行进。在平行流热交换器中,两种流体在同一端进入热交换器,并且彼此平行地行进到另一端。在逆流热交换器中,两种流体从相对的两端进入热交换器。
提高热交换器效率的一种方法是增加流体流过的通道的数量,并减小通道的尺寸。对于给定的热交换器长度,小通道尺寸使得能够将热能从热流体更完全地传递到冷流体。所以说热交换器的设计本质上是以行和列排列的立方体通道矩阵,其中行和列的数量为数百,在这种复杂的热交换器结构中,尽管逆流装置的效率优点是可取的,但直到现在制造这种设计充满挑战的。
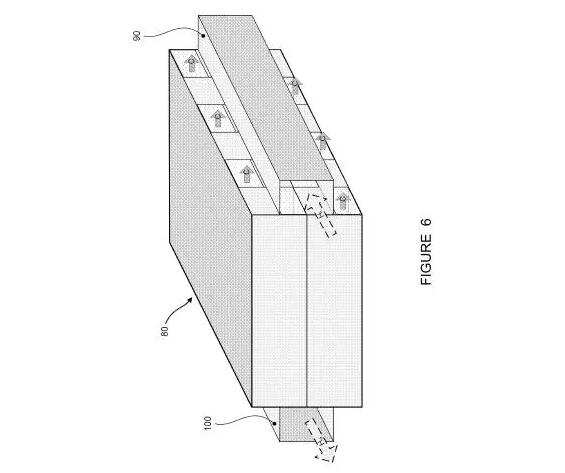
诺思罗普·格鲁曼公司(Northrop Gramman Systems)在开发一种创新设计的热交换器,特点是外部管道的极大简化,但是这种创新设计的热交换器通过传统制造技术难以构建。特别是连接部位的钎焊或焊接是困难的,尤其是考虑到所涉及的材料非常薄,尺寸非常小,并且接缝都必须防漏。然而,通过增材制造技术(也称为3D打印)很容易构建这些结构。增材制造不仅可以替代钎焊或焊接过程,还可以通过增材制造来构造热交换器通道矩阵,在需要大量集管的情况下,通过增材制造来构造整个热交换器组件 – 包括所有集管成为有效的制造方式。我们了解到这其中值得注意的是,通过增材制造,通道不必是直的,整个热交换器几乎可以呈现任何形状 – 包括弯曲,扭曲,翘曲等形状。
增材制造技术能够制造逆流热交换器中的交替通道,而对于传统制造技术来说这基本是不可能实现的。交替通道的逆流设计提供最大的热交换器效率,这使得热交换器的尺寸和质量最小化,并且流体流速降低。
诺思罗普·格鲁曼公司美国主要的航空航天飞行器制造厂商之一,在电子和系统集成、军用轰炸机、战斗机、侦察机以及军用和民用飞机部件、精密武器和信息系统等领域具有很大优势。
不仅是诺思罗普·格鲁曼公司在通过3D打印技术开发创新设计的热交换器。另外一家美国的大型国防合约商雷神公司也正在开发通过3D打印增材制造的方法来实现相变材料(PCM)散热器的制造。雷神公司开发的散热器的基本结构包括下壳、上壳和内部矩阵。通过增材制造技术将下壳,上壳和内部矩阵结构做为单一组件制造出来。内部矩阵被设计成放置相变材料的空间。增材制造工艺使得单个部件集成在一起制造出来。结果是通过3D打印的散热器的制造成本较低并且比传统的散热器更坚固。不仅如此,其内部矩阵可以具有更复杂的设计,以解决诸如高功率密度部件散热的特定问题。
3D打印在散热器的制造方面当前主要存在几种思路:一种是文中所提到的替代钎焊并结合相变材料的使用,一种是实现十分复杂的几何形状。实现十分复杂的几何形状方面例如双曲线交叉缠绕的应用,当然更为典型的是点阵结构的应用。
而究竟3D打印将在热交换器的产业化方面达到怎样的影响力和覆盖面,这不仅仅取决于3D打印设备,材料的价格,还取决于工艺质量是否能够达到一致可控,以及标准与认证的完善,而最重要的是如何从设计端获得以产品功能实现为导向的正向设计突破。不少的公司在3D打印热交换器和散热器方面获得了进展。其中包括在航空航天领域的GE、雷神公司、诺思罗普·格鲁曼公司、Unison Industries公司;在汽车领域的HiETA Technologies与雷尼绍合作开发的换热器,Conflux所开发的新型高效热交换器ConfluxCore以及菲亚特克莱斯勒(FCA汽车集团)开发的铝制散热器;在IT电子领域微软、IBM、,Ebullient LLC等公司开发的微处理器冷却解决方案以及热管理系统。
可以说,在以增材思维为主导的正向设计方面,热交换器和散热器方面,正在发生产品设计层面上的不断的创新,这些创新将以商业化实现的方式提升人类热管理的效率和能力。
本网站转载内容为作者个人观点,并不代表本站赞同其观点和对其真实性负责。如果您发现本网站上有侵犯您的知识产权的内容,请与我们取得联系,我们会及时修改或删除

鲁公网安备 37108102000492号
